“长距离钢轨探伤检测仪”所涉及的领域是铁路钢轨安全检测,它是利用超声波在钢轨表面上传播特性,利用超声波产生和换能器将超声能量从钢轨的侧面传入钢轨,在距超声能量馈入点1KM-5KM的范围内,利用声发射检测器接收超声能量,并以电信号形式输出超声电信号,利用对信号的幅度分析,小波分析等技术判断钢轨断裂和损伤,输出报警和预警信号。
主要研究内容是怎样测量钢轨的应力,并通过应力的变化来判断钢轨的状态。实现设备由同步声波产生、声波接收、同步控制和超声波分析四大部分组成。


发射端包括 ①无线数据传输设备、 ②超声波发生器、 ③超声换能器和④控制电路模块。

图1 发射端设备连接图 图2 超声波与钢轨连接图
接收端包括 ①声发射传感器、 ②声波放大器、 ③无线数据传输设备和④接收控制模块和 ⑤单片机分析实现模块。


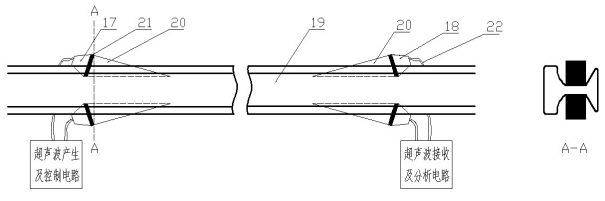
创新点:(1)用固定螺栓将超声波换能器固定在楔状耦合器的顶面上,超声波换能器和楔状耦合器顶面之间用耦合剂粘接,接触良好。采用双对称形成馈入超声波,即在轨腰两侧曹勇同样方式对称馈入,使超声波纵向能量增加。(2)利用声波在轨传播速度与应力存在一定的关系,从而根据数据判断出损伤情况。

